info@tdtransmet.ru
Категория: Стыковые железнодорожные накладки

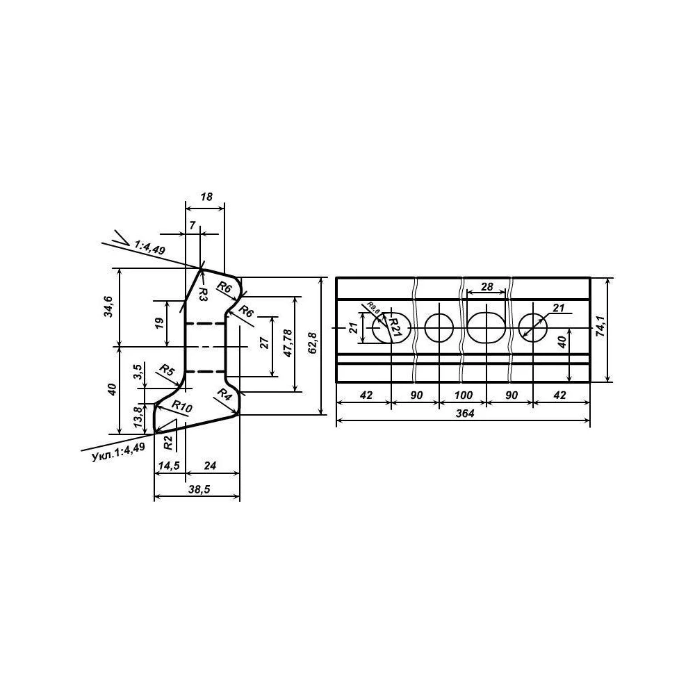
Накладка Р-24

В наличии на складе Цена по запросу
Отправить запрос
Тип:Новый
ТипР-24
Длина, мм364
Ширина, мм38,5
Высота, мм62,8
Плoщaдь пoпepeчнoгo ceчeния пpoкaтa, cм215,67
Koличecтвo x paзмep oтвepcтий, шт. x мм2 x d21, 2 x 28×21
Материалсталь Ст4сп
Масса 1 шт.4,22 кг
Единица измерениятонна
Количество в 1 тонне237 шт.
ГОСТ, ТУ8141-56
Для типа рельсР24
Болт стыковой (приобретается отдельно)М18х88
Гайка (приобретается отдельно)М18

Среднее время доставки по Свердловской области: 7-10 дней

Наши логисты свяжутся с вами для уточнения деталей доставки

ЖД стыковая накладка Р-24 используется  в качестве болтового рельсового скрепления. Предназначена для скрепления шейки железнодорожных узкоколейных рельс Р24 с помощью стыкового болта М18х88 с гайкой М18, без шайбы-гровера.

Основные характеристики

  • Единица измерения — тонна
  • Масса 1 шт. — 4,22 кг
  • Количество в 1 тонне — 237 шт.

ГОСТ 8141-56

На нашем сайте вы можете скачать ГОСТ 8141-56 для стыковых накладок типа Р-24 —изображение

Чертеж

чертеж рельсовой наладки Р-24

Накладки Р-24 по выгодным ценам в ТД «Трансмет»

Купить 4-х дырную накладку Р-24 по низкой цене с доставкой в Черкесске вы можете на сайте Торгового Дома «Трансмет» прямо сейчас! Доставим в короткие сроки на Ваш объект или производство. Перевозку осуществляем собственным автотранспортом или оформляем железнодорожные грузоперевозки. При необходимости груз страхуется и сопровождается.

Торговый Дом «Трансмет» — Ваш надёжный поставщик накладок и других материалов ВСП. К нам обращаются и нам доверяют!

Свяжитесь с коммерческим отделом компании и мы поможем вам с расчетом и оформлением заявки!

Телефоны: +7 (343) 361-64-95, +7 (343) 361-64-78, 8 (800) 600-54-95 (бесплатный для регионов)
E-mail: info@tdtransmet.ru

Оплата и доставка продукции

Мы предлагаем свои услуги по доставке различных грузов для железных дорог, включая железнодорожные рельсы, шпалы и другие строительные материалы.

Мы обладаем собственным транспортом, который позволяет нам осуществлять доставку грузов быстро, качественно и в срок. Наша компания осуществляет доставку продукции по всей территории России и ближнего зарубежья.

Варианты доставки

  • Доставка автотранспортом по РФ.
  • Доставка железнодорожным составом.
  • Отправка ТК по запросу. Мы сотрудничаем со всеми сертифицированными транспортными компаниями.

Наша компания заботится о комфорте и безопасности клиентов, поэтому мы предлагаем различные виды транспорта для доставки. Не важно, нужно ли вам доставить грузы на большой расстояние или через город, мы предоставим вам наилучшее решение для вашего бизнеса.

624002, Россия, Свердловская область, г. Арамиль, ул. Гарнизон, 3В